129
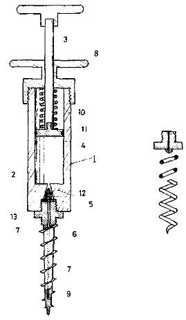
No. 58-014392 (1983)
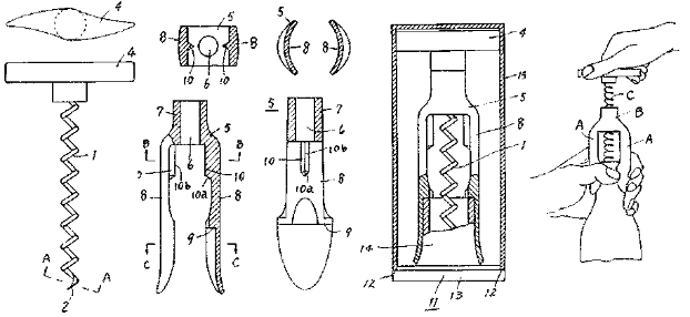
No. 58-033496 (1983)
Start
Back 10
Prev
129 : 255
Next
Forward 10
End