82
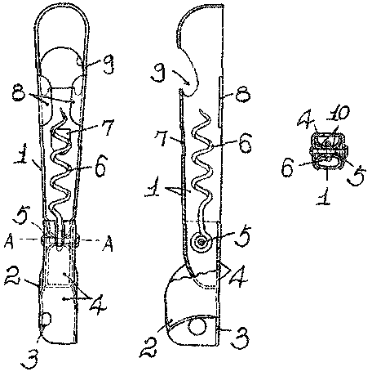
No. 35-023495 (1960)
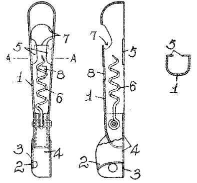
No. 35-023496 (1960)
Start
Back 10
Prev
82 : 255
Next
Forward 10
End